In re Blue Baffalo Enterprises, Inc.
Fed.
Cir. 2026-01-14
LINK
至極、実務に即した判決であると考える。しかしクレームとの差異を主張する際に引例の対応する部材の機能の違いを主張する日本の実務家もちらほらいる。さらに、非侵害の主張においても、イ号にクレームの構成要素に対応する部材が存在しているが、当該部材とクレームの構成要素の機能の違いを力説する実務家もいる。しかし、米国特許実務において、その種の主張はメカ関係では殆ど採用されない。
Summarized by Tatsuo YABE – 2026-01-24
1. 事件の概要
本件は、Blue Buffalo Enterprisesが出願した米国特許出願(No. 17/136,152:「ペットフード」)に関し、PTAB(審判部)が「obviousness(自明性)」を理由に拒絶を維持した判断を、連邦巡回控訴裁判所(CAFC)が支持した事案である。争点は極めて限定的で、クレーム中の “configured to” / “configured for” という文言の解釈に集約されている。

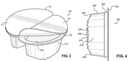
1. A packaged food product comprising:
a container including at least one sidewall and a bottom wall which combine to define a storage area, said bottom wall having an integrally formed, tool portion; and
a food product retained within the storage area and in contact with the at least one sidewall (210), wherein the at least one sidewall is configured to be readily deformable by a hand of a user to reduce a volume of the storage area, and the packaged food product is configured such that reducing the volume of the storage area causes the food product to exit the storage area for further processing with the tool portion, wherein the tool portion (330) includes a plurality of spaced projections configured for use in breaking up and/or tenderizing the food product after the food product is removed from the storage area.
対象発明は、ウェットペットフード用の容器であり、
を備える点に特徴がある。
2. 審査・審判(PTAB)
審査官およびPTABは、先行技術(Coleman:US2004/0089583)に基づき、クレームの構成は自明であると判断した。Coleman引例では、底面の凸凹部21は地面との接地状態を安定させる(地面に設置した状態で容器が動きにくいのでペットがフードを食べやすい)ためと記載されている。そもそもColemanでは、ペットフードが容器に入った状態でペットが食べることを意図している。凹凸部21はフードを崩したり、柔らかくするためのものではない。
その際、PTABは “configured to / configured for” を「capable of(〜することができる)」と解釈し、先行技術の構造が当該機能を果たし得る以上、クレーム要件を満たすとした。

Blue BuffaloはPTABの解釈を不服として控訴した。
3. 出願人(Blue Buffalo)の主張
出願人は、“configured to” は単なる capable of ではなく、「特定の機能を果たすように設計された(specifically designed to)」構成を意味すると主張した。その根拠として、In re Giannelli(2014年)および Aspex Eyewear v. Marchon Eyewear(2012年)を引用し、「adapted to が単なる能力以上の意味に解釈された先例がある」と論じた。
4. CAFCの判断
Moore首席判事は、PTABの判断を全面的に支持した。その要点は以下の通りである。
(1) 原則:”configured to / configured for” は文脈依存
裁判所は、「configured to や configured for が常に capable of を意味する」と一般論を述べたわけではない。しかし、明細書やクレーム文言に、より狭い意味(設計意図・特定目的)を示す根拠がない限り、“configured to / for” は “capable of” と解釈されると明確に述べた。
(2) Giannelli / Aspex Eyewear との違い
裁判所は、Blue Buffaloが依拠した先例を以下のように区別した。
これに対し、本件では
(3) 結論
したがって、本件クレームの“configured to / configured for” は 単に「その機能を果たし得る構造」、すなわち “capable of”と解釈するのが妥当であり、PTABの判断に誤りはないと結論付けた。